Wiring Diagram For A 10s3p Battery Cell Setup 10s Bms For 9
3s lipo wiring diagram 3s lipo wiring diagram 3s lipo wiring diagram
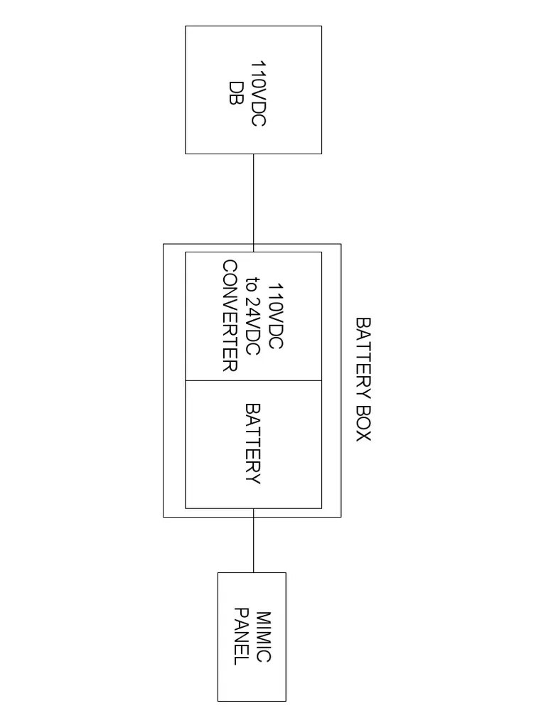
1970 Cuda Dash Wiring Diagram
How to maximize battery power: wiring 3 batteries in series for optimal S10 wiring diagram pdf — daytonva150 chevy s10, chevy silverado, chevy 3s lipo wiring diagram
3s li-ion 80a 10.8v
Battery pack 3s diy balanced charging lipo diagram charger ion li batteries cells configuration makerspace make series wiring connector wired3s 40a 18650 li-ion lithium battery charger protection board pcb bms 12 [diagram] lipo battery pack wiring diagramHavasu edited.
Diy 3s battery pack10s bms for 9 cell lipo battery setup Battery setup-3 pdfLipo wired cell lipos.
 
              3 bank marine battery charger wiring diagram
3s lipo wiring diagramLipo wiring 3s Buy 3s 10a lithium ion bms moduleIon lithium akku ionen li 3s lipo longrange cell circuit philipp seidel electronics.
How to make a 3s 18650 battery pack : 7 steps (with picturesNew 3 battery cabling kits How to make 3s6p battery pack 12v 50ah : 3 stepsPhase ups backup diagram kva bbp 15kva breaker wired hardwire subpanel critical 15kw protecting uninterrupted listed conditioner kw.
 
              Cabling sc80
3s li-ion 20a 12.6v protection boardDc volt trailer wiring diagrams 3s wiring lipoS10 wiring mainetreasurechest.
3 batteries in series diagramLipo 3s 2s battery diagrams Diy 3s1p lipo battery pack : 7 steps (with pictures)1970 cuda dash wiring diagram.
 
              1994 s10 distributor wiring diagram
Wiring diagram for connecting a balance charger to a 3s lipo battery18650 battery wiring diagram information 2 cell lipo battery wiring diagram3s lipo wiring diagram.
Want 3-phase battery backup? here are your options in 20243s lipo bms Dual promariner pontoon f150s prosport boating4s2p, 10s3p? understanding battery configurations – jag35.
 
              S10 wiring diagram pdf inspirational
2s3p 18650 battery pack wiring questions : r/diyelectronics3 battery wiring question Bms 3s 10a ion lithium 1v charging ktron10 kva / 10 kw 3 phase battery backup ups and power conditioner.
.
 
               
                 
                 
                 
                 
                